Konsep 29+ Skema Bus
Poin pembahasan Konsep 29+ Skema Bus adalah :
Konsep 29+ Skema Bus. Berikut Penjelasan lengkap tentang fungsi komponen-komponen skema amplifier dari yang aktif hingga pasif, prinsip cara kerjanya serta simbol yang wajib difahami. Perhatikan komponen skema amplifier jenis resistor berikut yang dilengkapi dengan gambar. Simak ulasan terkait skema amplifier dengan artikel Konsep 29+ Skema Bus berikut ini

Skema Jaringan Komputer Topologi Jaringan Komputer Sumber : nahdillah.blogspot.com

SKEMA INTERKONEKSI BUS Launcher Sumber : lucker199.blogspot.com

Acces map SKEMA Business School Sumber : www.skema.edu

komputer hubungan antara sistem operasi dengan sistem Sumber : krisnarisky.blogspot.com

Penggunaan Bus dalam Skema Kunci Elektronik Catatan Sumber : catatansumayyah.blogspot.com

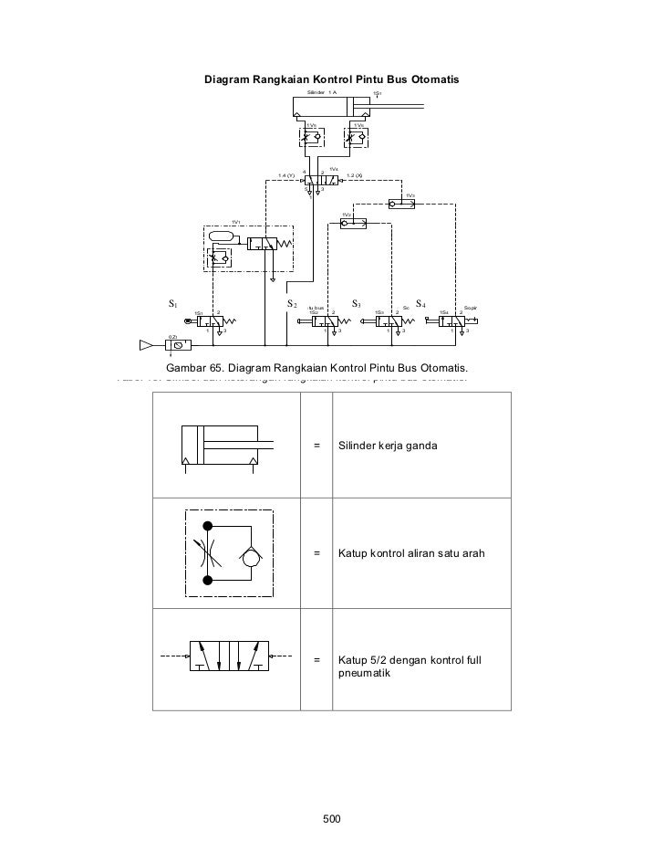
Bahan ajar tmd218 pneumatik hidrolik Sumber : www.slideshare.net

Skema Interkoneksi Bus Sumber : www.scribd.com

Mengenal Bus System Sumber : busprima1.blogspot.com

Jenis Jenis Topologi Jaringan Asta Info Sumber : astainfo.blogspot.com

Skema Jaringan Komputer Topologi Jaringan Komputer Sumber : nahdillah.blogspot.com

Comment aller SKEMA Business School Lille en Bus Sumber : moovitapp.com
Sebutkan beberapa bus utama dalam sistem komputer modern, Sistem bus adalah,

PENGERTIAN CAN BUS Mimame Sumber : mimamee.blogspot.com

Comment aller Accueil Skema Valbonne en Bus ou Train Sumber : moovitapp.com

Skema Arsitektur IBM CoreConnect Bus Dody Anggiat Flickr Sumber : www.flickr.com

Comment aller SKEMA Business School Nice en Bus Train Sumber : moovitapp.com
Sebutkan beberapa bus utama dalam sistem komputer modern, Sistem bus adalah,
Konsep 29+ Skema Bus. Berikut Penjelasan lengkap tentang fungsi komponen-komponen skema amplifier dari yang aktif hingga pasif, prinsip cara kerjanya serta simbol yang wajib difahami. Perhatikan komponen skema amplifier jenis resistor berikut yang dilengkapi dengan gambar. Simak ulasan terkait skema amplifier dengan artikel Konsep 29+ Skema Bus berikut ini

Skema Jaringan Komputer Topologi Jaringan Komputer Sumber : nahdillah.blogspot.com
Getting there SKEMA Business School
Sistem Bus System bus atau bus sistem dalam arsitektur komputer merujuk pada bus yang digunakan oleh sistem komputer untuk menghubungkan semua komponennya dalam menjalankan tugasnya Sebuah bus adalah sebutan untuk jalur di mana data dapat mengalir dalam komputer Jalur jalur ini digunakan untuk komunikasi dan dapat dibuat antara dua elemen atau lebih
SKEMA INTERKONEKSI BUS Launcher Sumber : lucker199.blogspot.com
SKEMA DASAR SISTEM KOMPUTER DINUS
Bus adalah Jalur komunikasi yang dibagi pemakai Suatu set kabel tunggal yang digunakan untuk menghubungkan berbagai subsistem Karakteristik penting sebuah bus adalah bahwa bus merupakan media transmisi yang dapat digunakan bersama Sistem komputer terdiri dari sejumlah bus yang berlainan yang menyediakan jalan antara dua buah komponen pada bermacam macam tingkatan
Acces map SKEMA Business School Sumber : www.skema.edu

komputer hubungan antara sistem operasi dengan sistem Sumber : krisnarisky.blogspot.com

Penggunaan Bus dalam Skema Kunci Elektronik Catatan Sumber : catatansumayyah.blogspot.com

Bahan ajar tmd218 pneumatik hidrolik Sumber : www.slideshare.net
Skema Interkoneksi Bus Sumber : www.scribd.com

Mengenal Bus System Sumber : busprima1.blogspot.com

Jenis Jenis Topologi Jaringan Asta Info Sumber : astainfo.blogspot.com
Skema Jaringan Komputer Topologi Jaringan Komputer Sumber : nahdillah.blogspot.com

Comment aller SKEMA Business School Lille en Bus Sumber : moovitapp.com
Sebutkan beberapa bus utama dalam sistem komputer modern, Sistem bus adalah,
PENGERTIAN CAN BUS Mimame Sumber : mimamee.blogspot.com

Comment aller Accueil Skema Valbonne en Bus ou Train Sumber : moovitapp.com

Skema Arsitektur IBM CoreConnect Bus Dody Anggiat Flickr Sumber : www.flickr.com

Comment aller SKEMA Business School Nice en Bus Train Sumber : moovitapp.com
0 Comments